Rundschauglas
PN 6-16
Rundschauglas
PN 6-16
KL 513
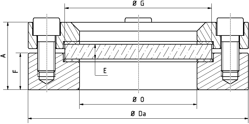
Behälterschaugläser vom Typ KL 660 eignen sich zur überwachung des Flüssigkeitsstandes in Behältern. Sie können direkt in Behälterwände eingeschweisst werden oder als Variante mit Radius aufgeschweisst.
Größen:
Größen:
Größen:
Größe
Einbaumaße
Durchblick
Schrauben
Glas
A
B
Länge
Breite
M10 - Stück
Dimension
1
186
80
121
18
8
34/17 x 140
2
211
80
146
15
10
34/17 x 165
3
236
80
171
15
12
34/17 x 190
4
296
80
231
15
14
34/17 x 250
5
326
80
261
15
16
34/17 x 280
6
366
80
301
15
18
34/17 x 320
8
386
80
321
15
18
34/17 x 340
Größe
Einbaumaße
Durchblick
Schrauben
Glas
A
B
Länge
Breite
M10 - Stück
Dimension
1
186
80
121
18
8
34/17 x 140
2
211
80
146
15
10
34/17 x 165
3
236
80
171
15
12
34/17 x 190
4
296
80
231
15
14
34/17 x 250
5
326
80
261
15
16
34/17 x 280
6
366
80
301
15
18
34/17 x 320
8
386
80
321
15
18
34/17 x 340
Schnellübersicht:
Schnellübersicht:
Schnellübersicht:

max. 40 barü

max. 40 barü

max. 40 barü

hitzebeständig bis 400 °C

hitzebeständig bis 400 °C

hitzebeständig bis 400 °C

für flüssige Medien

für flüssige Medien

für flüssige Medien

für gasförmige Medien

für gasförmige Medien

für gasförmige Medien

Baulängen
140 - 1000 mm

Baulängen
140 - 1000 mm

Baulängen
140 - 1000 mm

Sonderanfertigungen möglich

Sonderanfertigungen möglich

Sonderanfertigungen möglich

>50 Dichtungswerkstoffe

>50 Dichtungswerkstoffe

>50 Dichtungswerkstoffe

Zubehör verfügbar

Zubehör verfügbar

Zubehör verfügbar
Technische Daten:



Baulänge
Framer is a design tool that allows you to design websites on a freeform canvas, and then publish them as websites with a single click.
Baulänge
Framer is a design tool that allows you to design websites on a freeform canvas, and then publish them as websites with a single click.
Baulänge
Framer is a design tool that allows you to design websites on a freeform canvas, and then publish them as websites with a single click.
Nenndruck PN
Framer is a design tool that allows you to design websites on a freeform canvas, and then publish them as websites with a single click.
Nenndruck PN
Framer is a design tool that allows you to design websites on a freeform canvas, and then publish them as websites with a single click.
Nenndruck PN
Framer is a design tool that allows you to design websites on a freeform canvas, and then publish them as websites with a single click.
Temperatur
Framer is a design tool that allows you to design websites on a freeform canvas, and then publish them as websites with a single click.
Temperatur
Framer is a design tool that allows you to design websites on a freeform canvas, and then publish them as websites with a single click.
Temperatur
Framer is a design tool that allows you to design websites on a freeform canvas, and then publish them as websites with a single click.
Ausführung
Framer is a design tool that allows you to design websites on a freeform canvas, and then publish them as websites with a single click.
Ausführung
Framer is a design tool that allows you to design websites on a freeform canvas, and then publish them as websites with a single click.
Ausführung
Framer is a design tool that allows you to design websites on a freeform canvas, and then publish them as websites with a single click.
Ausführungen:
Variante mit Sackloch
zum Einschweissen



Variante mit Radius
zum Aufschweissen



Beide Varianten kombinierbar mit
umlaufender Ablaufschräge



Warum Kessler?
Warum Kessler?
Warum Kessler?
01
Jahrzehntelange Erfahrung im Anlagenbau
01
Jahrzehntelange Erfahrung im Anlagenbau
01
Jahrzehntelange Erfahrung im Anlagenbau
02
Präzision „Made in Germany“
02
Präzision „Made in Germany“
02
Präzision „Made in Germany“
03
Maßgeschneiderte Sonderlösungen
03
Maßgeschneiderte Sonderlösungen
03
Maßgeschneiderte Sonderlösungen
04
Zuverlässig unter Druck und Temperatur
04
Zuverlässig unter Druck und Temperatur
04
Zuverlässig unter Druck und Temperatur
05
Kompatibilität mit gängigen Normen und Standards
05
Kompatibilität mit gängigen Normen und Standards
05
Kompatibilität mit gängigen Normen und Standards
06
Schnelle Verfügbarkeit und kurze Lieferzeiten
06
Schnelle Verfügbarkeit und kurze Lieferzeiten
06
Schnelle Verfügbarkeit und kurze Lieferzeiten
Produktbilder
Produktbilder
Produktbilder

Ihr persönlicher Ansprechpartner:
Martin Kessler
Geschäftsführung

Ihr persönlicher Ansprechpartner:
Martin Kessler
Geschäftsführung

Ihr persönlicher Ansprechpartner:
Jetzt Beraten lassen
Erzählen Sie von Ihrem Projekt — ob klein oder groß.
Ihr persönlicher Ansprechpartner:

Martin Kessler
Geschäftsführung
Jetzt Beraten lassen
Erzählen Sie von Ihrem Projekt — ob klein oder groß.
Ihr persönlicher Ansprechpartner:

Martin Kessler
Geschäftsführung










